乙二醇(EG)插层层状双金属氢氧化物(LDH)可作为层间催化反应器,用于原油中环烷酸与EG的酯化脱酸反应,但其合成过程需要较长时间。 以硝酸根型镍铝LDH为前体,在KOH促进下,采用微波辅助的离子交换法合成EG插层LDH,省时节能,提高效率。 考察了微波时间、微波温度和微波功率对EG插层LDH结构的影响。 并用XRD、FT-IR和TG-DSC等比较了微波法和常规方法合成的EG插层LDH的性质。 结果表明,微波辐射能提供高能量,促进待交换阴离子向层间的扩散,并减弱层板与层间原有阴离子间的作用力,在微波温度为120 ℃,微波时间为10 min和微波功率550 W的条件下,即可得到结晶度高的EG插层LDH。 微波法合成的EG插层LDH与常规方法合成的具有相似的性质和更高的结晶度,而合成时间可由12 h大幅缩短至10 min。
Ethylene glycol(EG) intercalated layered double hydroxide(LDH) can be used as an interlayer catalytic reactor for the esterification of naphthenic acids with EG in oil. However, long synthesis time for EG intercalated LDH limits its further application. In the present investigation, EG intercalated NiAl-LDH was synthesized via a microwave-assisted ion exchange method by the aid of KOH and with nitrate LDH as precursor. The effects of microwave irradiating time and power, and the reaction temperature on the structure of EG intercalated LDH were investigated. XRD, FT-IR and TG-DSC were used to characterize EG intercalated LDHs prepared. Microwave irradiation was found to provide sufficient energy to accelerate the diffusion of exchanging anions into the interlayer and weaken the interaction between the layers and original interlayer anions. As a result, well-crystallized EG intercalated LDH can be synthesized under 550 W microwave irradiation at 120 ℃ for 10 min. The EG intercalated LDH prepared shows similar structure and properties and higher crystallinity as that prepared by conventional method, while the preparation time can be significantly reduced from 12 h to 10 min.
层状双金属氢氧化物(layered double hydroxides,LDHs)是一种具有“三明治”结构的阴离子粘土,其通式为[
微波不仅可加速LDH的晶化,也可加速离子交换过程。 杜以波等[4]以MgAl-NO3 LDH为前体,微波辅助离子交换合成1,5-萘二磺酸柱撑LDH,与70 ℃常规离子交换法相比,微波作用只需10 min即可获得比离子交换4 d更好的效果。 陈有梅[7]使用微波辅助离子交换法合成丹参素插层LDH,与常规离子交换法相比,合成时间由4 h缩短至20 min,并且交换更完全。 贺鹤鸣等[8]分别使用微波辅助和常规离子交换法合成了磷钼酸插层LDH,微波法仅需10 min,而常规离子交换需12 h,且微波法得到的样品晶型更为规整。
研究表明,LDHs层板金属对环烷酸和乙二醇(EG)的酯化反应具有催化作用,可用作原油或馏分油酯化脱酸催化剂[9,10]。 然而,EG的高粘度导致严重的扩散限制,降低催化效率。 因此,设想将EG预先固定在LDHs层间,构建层间催化反应器,从而促进环烷酸和EG的酯化反应。 此方法的关键在于高效合成EG插层LDHs。 文献[11,12]中关于合成EG插层LDHs的报道较少,且需要苛刻的条件,一般通过离子交换法将前体在EG蒸汽中处理30 h或者在EG液体中处理120 h。 在前期研究中,我们利用醇盐[13]或KOH[14]的强夺质子能力,通过离子交换法,在较缓和的条件下成功制备了EG插层的MgAl-和NiAl-LDHs,与文献相比[11,12],合成时间从120 h大幅缩短至12 h。 这种LDHs作为层间催化酯化反应器,表现出比常规LDHs更高的催化效率[14]。
为进一步提高EG插层LDHs的合成效率,大幅缩短合成时间,本文拟采用微波辅助的离子交换法合成EG插层NiAl-LDH,并研究微波条件对EG插层LDH晶体结构的影响,这方面的研究尚未见报道。 进一步通过XRD、FT-IR和TG-DSC表征,比较该法与常规离子交换法合成的LDH的结构性质。
X'Pert Pro型X射线衍射仪(XRD,荷兰PANalytical公司),Cu靶, Kα辐射源,管电压40 kV,管电流40 mA,步长0.02°,每步停留时间12 s,扫描范围5°~70°。 以硝酸根型LDH前体的结晶度为100%,其它样品的相对结晶度用各自的003晶面衍射峰强度与前体的对比获得[15]。 WQ520型分光光度计(FT-IR,中国北分公司),在室温下将样品与KBr混合压片,样品扫描32次,分辨率2 cm-1。 STA-449F3型同步热分析仪(TG-DSC,德国Netzsch公司),在氧化铝坩埚中装载10 mg的样品,空气气氛,流量60 mL/min,以10 ℃/min从40 ℃升至650 ℃。 Vario EL III型元素分析仪(德国Elementar公司),Optima 7300V型电感耦合等离子光谱发生仪(ICP,美国PerkinElmer公司)。 MG08S-2B型微波实验仪(南京汇研微波系统工程公司),该仪器可控制微波温度、时间和功率,其中功率的控制通过设定阳极电流实现。 所有试剂纯度均为市售分析纯。
采用共沉淀法合成 n(Ni)/ n(Al)=2的硝酸根型LDH(标记为NiAl-NO3)作为离子交换前体。 其步骤为:将NaOH溶液滴加到Ni(NO3)2和Al(NO3)3的混合盐溶液中,控制pH=6.5,100 ℃水热晶化12 h,经抽滤、洗涤、干燥,得到NiAl-NO3。 采用微波辅助的离子交换法合成EG插层NiAl-LDH。 其步骤为:将1.21 g NiAl-NO3,85 mL EG和0.02 mol KOH加入100 mL带有搅拌功能的微波反应釜中,密闭后置于微波实验仪中,该反应釜配有热电偶插入反应溶液中,可在线检测釜内温度,并与仪器控制电路相连,实现对微波温度的控制,控温精度可达±1 ℃。 在给定的温度和电流下微波处理一段时间后,得到的固体经丙酮洗涤、抽滤、干燥得到产物。
以常规离子交换法合成的EG插层LDH作为参比。 其步骤为:将1.21 g NiAl-NO3,100 mL EG和0.02 mol KOH加入烧瓶中,120 ℃油浴反应12 h,后续处理方法同上,样品记为NiAl-EG-IE。
| 图1 不同微波时间合成的EG插层LDHs和NiAl-NO3前体的XRD谱图Fig.1 XRD patterns of EG intercalated LDHs prepared at different microwave time and NiAl-NO3 precursor |
在微波温度为150 ℃,微波功率为390 W的条件下,考察微波处理时间(5、10、20、30和40 min)对EG插层LDH结构的影响,得到的样品分别命名为NiAl-EG-MW-5、NiAl-EG-MW-10、NiAl-EG-MW-20、NiAl-EG-MW-30和NiAl-EG-MW-40,其XRD谱图列于图1。 前体NiAl-NO3的XRD谱图也列于图1,相应的晶格参数列于表1。 NiAl-EG-MW-5的衍射峰宽且不对称,基线漂移,说明晶体结构规整度非常低[16]。 这是由于微波处理时间过短,提供的能量不足,难以形成晶型规整的EG插层LDH。 处理时间为10和20 min时,样品出现LDH的典型特征,峰型较尖锐,结晶度较高,无杂质出现,其003、006和009晶面间距较符合整倍数关系。 与NiAl-NO3前体相比,003、006和009衍射峰明显前移,003晶面间距( d003)由0.874 nm增加到约1.2 nm,与文献值[14](1.12 nm)接近,说明EG成功插入层间。 110晶面间距( d110)与前体相比并无变化,说明层板金属阳离子比例未改变。 随着处理时间的延长,003衍射峰向高角度移动,而006衍射峰向低角度移动并宽化。 前者归因于EG的缩合导致层间有机物分子尺寸减小,这是因为EG作为极性分子能够强烈吸收微波而促进分子间缩合反应的发生。 而后者则归因于部分C
| 表1 不同微波时间合成的EG插层LDHs的晶体结构参数 Table 1 Characteristic crystal parameters for EG intercalated LDHs prepared at different microwave time |
在微波时间为10 min,微波功率为390 W的条件下,考察微波温度(90、120和150 ℃)对EG插层LDH结构的影响,样品记为NiAl-EG-MW-90、NiAl-EG-MW-120和NiAl-EG-MW-150,其XRD谱图列于图2,相应的晶格参数列于表2。 在3个微波温度下,均可合成出晶相单一的EG插层LDH。 随着温度的升高,层间EG柱密度增加并且逐渐接近于垂直排列,因此 d003出现上升趋势[20]。 当温度从90 ℃提高到120 ℃时,LDH的结晶度和结构规整性上升。 这是因为有机阴离子具有较大的体积,进入层间时需要克服层板间的作用力并有较大传质阻力,因而需要较高的活化能,较高的离子交换温度会提高阴离子的运动速率,有利于离子交换反应的进行[21]。 然而,过高的反应温度下,有机物容易发生缩合生成碳质产物并混合在LDH中,产生稀释效应而造成有机阴离子插层LDH的结晶度降低[22]。 因此,在120 ℃时得到最高结晶度,在后续实验中采用此温度。
| 图2 不同微波温度合成的EG插层LDHs的XRD谱图Fig.2 XRD patterns of EG intercalated LDHs prepared at different microwave temperatures |
| 表2 不同微波温度合成的NiAl-EG-MW的XRD晶体结构参数 Table 2 Characteristic crystal parameters for EG intercalated LDHs prepared at different microwave temperatures |
在微波温度为120 ℃,微波时间为10 min的条件下,研究微波功率(220、390、550和750 W)对EG插层LDH结构的影响,得到的样品分别记为NiAl-EG-MW-220W、NiAl-EG-MW-390W、NiAl-EG-MW-550W和NiAl-EG-MW-750W,其XRD谱图列于图3,相应的晶格参数列于表3。 在微波功率为220、390和550 W下合成的样品的003晶面衍射峰的峰形尖锐且对称,且随着微波功率的提高,LDH结晶度和结构规整性上升,这可能是由于在更高功率下,极性分子在高速变化的电磁场诱导下旋转加剧,加快了离子扩散和传输速度,从而促进离子交换反应进而提高样品的结晶度[23,24]。 然而,在750 W下合成的样品的003晶面衍射峰强度大幅下降,并且出现宽化和不对称。 这可能是由于高功率进一步加剧了极性EG的分子运动,使其与层间的相互作用增强,但减弱了相邻层与层的范德华相互作用,因此沿层板堆叠方向的有序性降低,从而产生乱层现象[19]。 Fetter等[25]也发现过高的微波处理功率会引起LDH的003晶面衍射峰强度下降和峰形变宽。 因此,在后续实验中选择微波功率为550 W。
| 表3 不同微波功率合成的NiAl-EG-MW样品的XRD晶体结构参数 Table 3 Characteristic crystal parameters for NiAl-EG-MW samples prepared at different microwave power |
将在上述优化条件(微波时间10 min,微波温度120 ℃和微波功率550 W)下合成的NiAl-EG-MW,与常规离子交换法合成的NiAl-EG-IE对比。 二者的XRD谱图和晶体结构参数分别列于图4和表4。 可见,NiAl-EG-MW和NiAl-EG-IE的各晶面衍射峰位置接近,均表现出EG插层LDH的典型特征,前者的峰型更加尖锐和对称,且强度更高,相对结晶度比后者提高30%以上,基本接近前体NiAl-NO3的结晶度;并且003、006和009晶面间距更符合整倍数关系,而合成时间从12 h大幅缩短到10 min。 这是由于微波利用交变电磁场为待交换的阴离子提供瞬间全方位洛仑兹力,提高能量使其克服扩散阻力,同时微波交变电磁场也可能会引起层板上的晶格点和层间离子瞬间极化方向的改变,削弱层板之间、层板与阴离子之间的相互作用力,从而使离子交换更易完成[4]。
| 表4 NiAl-EG-MW和NiAl-EG-IE的晶体结构参数 Table 4 Characteristic crystal parameters for NiAl-EG-MWand NiAl-EG-IE |
NiAl-EG-MW和NiAl-EG-IE的FT-IR谱图如图5所示。 两个样品中均出现了属于EG的特征吸收峰。 在2940和2880 cm-1附近,分别对应为—CH2的非对称和对称伸缩振动;1090和1045 cm-1附近对应于C—C—O的平面内弯曲振动吸收峰[11]。 同时,EG中—CH2的摇摆振动吸收峰位于883和862 cm-1处。 上述吸收峰的出现说明EG成功插层到LDH中。 两个样品的EG特征吸收峰的位置没有发生明显的位移,说明其中的EG存在形式相似。
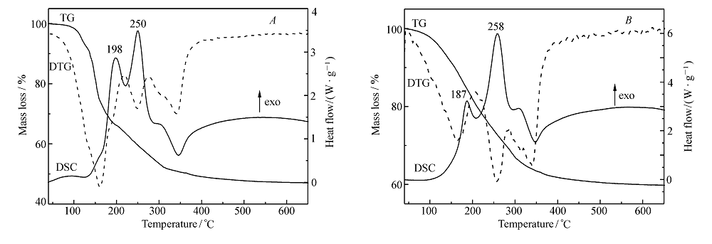
NiAl-EG-MW和NiAl-EG-IE的TG、DSC和DTG曲线列于图6。 两个样品均有3个明显的失重阶段。 第一个阶段在40~200 ℃,对应于物理吸附EG的燃烧和层间水的脱除[13],因此在NiAl-EG-MW和NiAl-EG-IE的DSC曲线上出现物理吸附EG燃烧导致的放热峰,分别位于198和187 ℃。 第二阶段在200~300 ℃,对应于层间EG的燃烧和分解,在相应的NiAl-EG-MW和NiAl-EG-IE的DSC曲线上出现明显的放热峰,分别位于250和258 ℃。 最后一个阶段在300 ℃以上,归属于层板的脱羟基作用,在二者的DSC曲线上均出现了明显的吸热峰。 上述结果说明,两个样品的热性质基本相同。 与NiAl-EG-IE相比,在NiAl-EG-MW的TG-DSC中,其第一阶段的失重率和放热峰均较高,这说明其物理吸附的EG和结合水较多,与经元素分析得到的分子式一致。
| 图6 NiAl-EG-MW( A)和NiAl-EG-IE( B)的TG-DSC-DTG谱图Fig.6 TG-DSC-DTGcurves of NiAl-EG-MW( A) and NiAl-EG-IE( B) |
样品的CHNO元素分析结果如表5所示。 结合TG和元素分析得到NiAl-EG-MW和NiAl-EG-IE的化学式分别为[Ni0.67Al0.33(OH)2(C2H5
| 表5 NiAl-EG-MW和NiAl-EG-IE的CHNO元素含量 Table 5 Elemental composition of CHNO for NiAl-EG-MW and NiAl-EG-IE |
由NiAl-EG-MW和NiAl-EG-IE的 d003(表4)扣除LDH的层板厚度0.48 nm[26],2个样品的层内通道高度分别为0.789和0.741nm。 EG的分子尺寸为0.42 nm[27],此值小于NiAl-EG-MW和NiAl-EG-IE的通道高度,因此推测位于层间的EG阴离子与层板呈一定倾斜角度的双层排列,其超分子模型如图7所示。
以硝酸根型镍铝LDH为前体,采用微波辅助的离子交换法,在微波处理时间10 min、微波温度120 ℃和微波功率为550 W的条件下得到了结晶度较高的EG插层LDH。 微波法与常规离子交换法合成的EG插层LDH具有相近的结构性质,前者具有更高的结晶度,而合成时间由12 h大幅缩短至10 min,显著提高了合成效率。
| [1] |
|
| [2] |
|
| [3] |
|
| [4] |
|
| [5] |
|
| [6] |
|
| [7] |
|
| [8] |
|
| [9] |
|
| [10] |
|
| [11] |
|
| [12] |
|
| [13] |
|
| [14] |
|
| [15] |
|
| [16] |
|
| [17] |
|
| [18] |
|
| [19] |
|
| [20] |
|
| [21] |
|
| [22] |
|
| [23] |
|
| [24] |
|
| [25] |
|
| [26] |
|
| [27] |
|

